客戶谘詢熱線:18944828889
0523-84888996
膠體磨
膠體磨
膠體磨
膠體磨
膠體磨
|
|
|
型號 |
生產能力t/h |
配用功率kw |
外形尺寸mm |
|
|
|
|
|
JM-50 |
0.1-0.2 |
1.1 |
280×280×480 |
|
|
|
|
|
JM-80 |
0.1-0.5 |
3 |
340×340×610 |
|
|
|
|
|
JM-100 |
0.5-2 |
5.5 |
720×340×980 |
|
|
|
|
|
JM-120 |
0.7-3 |
7.5 |
720× 340×980 |
|
|
|
|
|
JM-140 |
1-4 |
11 |
840×430×1050 |
|
|
|
|
|
JM-180 |
2-7 |
18.5 |
840×430×1050 |
|
該機為濕式物料微細加工機械。根據不同用途,可選用不同材質和硬度的磨齒,裝拆方便容易清洗。
立式膠體磨JM-L型 圖一
1、底座 2、電機 3、端蓋 4、循環管 5、手柄 6、調節盤 7、冷卻水接頭 8、加料門 9、旋葉刀 10、動磨盤 11、靜磨盤 12、靜磨盤座 13、O型圈 14、機械密封 15、殼體 16、組合密封 17、排漏管接頭
立式膠體磨JM-L50a-b型 圖二
1、底座 2、電機 3、殼體 4、連軸器 5、機械密封 6、手柄 7、鎖緊螺絲 8、加料門 9、進料管道 10、調節盤 11、靜磨盤12、動磨盤 13、循環管
分體式膠體磨JM-F型 圖三
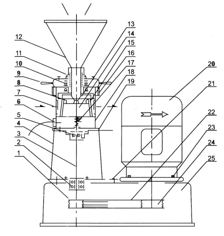
1、從動帶輪 2、軸承 3、主軸 4、機座 5、軸承 6、出料口 7、冷卻水接頭 8、進料蓋板 9、手柄 10、軸承 11、限位螺母 12、加料門 13、旋葉刀 14、動磨盤 15、靜磨盤 16、調節盤 17、機械密封 18、殼體 19、排泄孔 20、電機 21、調節螺釘 22、三角皮 23、電機座 24、主動帶輪 25、底座
|
型號 |
直徑D |
直徑a |
注:JM-W臥式單機安裝尺寸詳見電機說明書 |
|
JM-L50 |
Ф225 |
Ф9 |
|
|
JM-L65 |
Ф240 |
Ф15 |
|
|
JM-L80 |
Ф300 |
Ф15 |
|
|
|
|
|
|
|
|
|
|
|
|
|
|
|
|
|
|
|
|
|
|
|
|
|
|
|
|
|
|
|
|
|
|
|
友情鏈接LINK
關於羞羞的网站免费看
企業簡介聯係羞羞的网站免费看案例展示產品中心
榨汁設備男女生打扑克羞羞视频免费网站設備破碎設備椰子加工設備去籽、去核、去梗設備輸送設備查看更多+新聞資訊
視頻案例分享公司新聞行業資訊常見問題解決方案
蘋果、梨加工羞羞视频APP在线观看橙子、檸檬、柑橘加工羞羞视频APP在线观看新會柑果球加工羞羞视频APP在线观看桃子、李子、杏子加工羞羞视频APP在线观看番茄醬加工羞羞视频APP在线观看芒果加工羞羞视频APP在线观看梅幹菜、酸菜、鹹菜加工羞羞视频APP在线观看菠蘿加工羞羞视频APP在线观看百香果、西番蓮加工羞羞视频APP在线观看藍莓、樹莓、草莓加工羞羞视频APP在线观看紅棗、山楂加工羞羞视频APP在线观看葡萄加工羞羞视频APP在线观看沙棘果加工羞羞视频APP在线观看刺梨加工羞羞视频APP在线观看枇杷加工羞羞视频APP在线观看果蔬處理專題
榨汁設備專題男女生打扑克羞羞视频免费网站設備專題破碎設備專題去籽去核去梗設備輸送設備專題清洗設備專題過濾設備專題果汁羞羞视频APP在线观看專題微信二維碼
手機網站


江蘇羞羞的网站免费看機械製造有限公司 版權所有 備案號:蘇ICP備44033316號 技術支持:【新超雲網絡】【Sitemap】